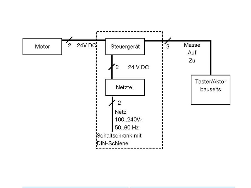
Elektrischer Anschluss
Das Motorsteuergerät dient zur Ansteuerung eines 24V Gleichstrommotors. Der Motor treibt in der Regel mittels eines Zahnriemens einen Schiebeladen an. Das Motorsteuergerät wird mittels potentialfreien Eingängen (0 / Auf / Zu) angesteuert.
(Dies sind Auszüge aus dem Anschlussplan – 24V Reiheneinbaugerät – Version_2.1.pdf, sie steht zum Download am Ende der Seite bereit)
Kabelverlegung
zu verwendende Leitungen
Die folgenden Angaben verstehenden sich als Mindestangaben.
| Leitung | Leitungstyp |
| Zwischen Motor und Motorsteuerung
|
Motorversorgung (24V =)
bis zu 20 m: 2 x 0,50 mm² 20 bis 50 m: 2 x 0,75 mm² 50 bis 100 m: 2 x 1,50 mm² |
| Zwischen Taster/Aktor und Motorsteuerung
|
Bis zu 50 m: 3 x 0,25 mm²
|
| Zwischen Netzteil und Motorsteuerung
|
Weniger als 1m: 2 x 1,00 mm²
|
Montage und Anschluss
Das Motorsteuergerät hat Dimensionen von Installationsgeräten für Standard Tragschienen mit einer Breite von 35 mm nach DIN EN 50022, so genannte Hutschienen. Das Motorsteuergerät ist 18mm breit, was einer Teilungseinheit entspricht.
Zur Montage auf eine Tragschiene rasten Sie das Gerät gerade auf die Tragschiene auf. Das Gerät weist hierzu oben und unten orangene Fußriegel auf.
Soll das Motorsteuergerät auf eine ebene Fläche montiert werden, werden hierzu ebenfalls die orangenen Fußriegel verwendet.
Technische Daten der Versorgungsspannung
In der folgenden Tabelle werden die Technischen Daten zur erforderlichen Versorgungsspannung erläutert.
| Parameter
|
Wert
|
| Eingangsspannung
|
24 V DC (Gleichstrom)
|
| Zulässiger Bereich
|
22,0 … 26,0 V DC
|
| Verpolschutz
|
Nein
|
| Leistungsaufnahme ohne Last
|
ca. 1,5 … 2 Watt
|
| Leistungsaufnahme mit Last
|
Je nach angeschlossenem Motor
max. Dauerbetrieb: ca. 24 Watt max. Spitzenleistung: ca. 30 Watt
|
Anschlussbelegung
Das Reiheneinbaugerät verfügt über drei Klemmenreihen mit je drei Anschlussklemmen. An Klemme 1, 2 und 3 wird die Stromversorgung angeschlossen.
An Klemme 4, 5 und 6 wird der potentialfreie Eingang (0 / Auf / Zu) angeschlossen. An Klemme 7 und 9 wird der Motor angeschlossen.
Anschluss mehrerer Motorsteuergeräte mit Netzteil
Werden mehrere Motorsteuergeräte mit einem Netzteil betrieben sind diese parallel an die Versorgungsspannung anzuschließen.
An einem Motorsteuergerät kann nur ein Motor angeschlossen werden. Sollen mehrere Motoren betrieben werden benötigt jeder Motor ein eigenes
Motorsteuergerät. Die potentialfreien Eingänge (0 / Auf / Zu) mehrerer Motorsteuergeräte können ebenfalls parallel angeschlossen werden. Dies kann insbesondere für Gruppenfunktionen sinnvoll sein.
Verbindungskabel montieren
- Tragschienenverbinder montieren
- Verbindungskabel in den letzten, oberen Tragschienenverbinder einstecken
- Die rote und schwarze Ader müssen oben, die blauen Adern unten sein siehe untenstehende Abbildung
- Verbindungskabel in den ersten, unteren Tragschienenverbinder einstecken
- Die rote und schwarze Ader müssen oben, die blauen Adern unten sein siehe untenstehende Abbildung
Inbetriebnahme
Nach Montage und elektrischem Anschluss der Steuerung ist diese in Betrieb zu nehmen. Im Folgenden werden die Teile der Steuerung erläutert die zur Inbetriebnahme notwendig sind. In den folgenden Kapiteln wird erläutert welche Funktionen einzustellen sind und wie die Inbetriebnahme schrittweise erfolgt.
Die Teile zur Inbetriebnahme sind durch einen nach oben zu öffnenden Klappdeckel geschützt. Diesen öffnen um Einstellungen und Inbetriebnahme vorzunehmen.
- Funktion Halbautomatik / Totmann Bei aktivierter Funktion „Halbautomatik“ fährt der Antrieb automatisch so lange bis ein Hindernis erkannt oder die Endlage erreicht wird, auch wenn das Ansteuersignal nicht mehr anliegt. Bei aktivierter Funktion „Totmann“ fährt der Antrieb automatisch so lange ein Hindernis erkannt oder die Endlage erreicht wird, stoppt jedoch sofort wenn das Ansteuersignal nicht mehr anliegt.
- Funktion Motorart
Schalter je nach eingesetztem Motor einstellen. - Funktion Geschwindigkeit
Hier kann die maximale Geschwindigkeit des Antriebs gewählt werden.
Anschlussbelegung des Gruppensteuergerätes
Das Gruppensteuergerät verfügt über acht Klemmenreihen mit je drei Anschlussklemmen. An Klemme 1, 2 und 3 wird die Stromversorgung angeschlossen.
An Klemme 4, 5 und 6 wird der potentialfreie Eingang (0 / Auf / Zu) für Alle Gruppen angeschlossen.
An den Klemmen Gruppe 1 (7, 8 und 9) Gruppe 2 (10, 11 und 12), Gruppe 3 (13, 14 und 15) Gruppe 4 (16, 17 und 18) Gruppe 5 (19, 20 und 21) sowie Gruppe 6 (22, 23 und 24) wird der potentialfreien Eingang (0 / Auf / Zu) für die entsprechenden Gruppen angeschlossen.
- DIP-Schalter 4, 5 und 6 zur Codierung der Gruppe verwenden
Codes siehe nachfolgende Tabelle Bei Gruppe 0 ist das Reiheneinbaugerät keiner Gruppe zugeordnet Bei Gruppe 7 ist das Reiheneinbaugerät allen Gruppen zugeordnet
Konfiguration
Wird im Anschlussbeispiel…
… der Eingang „Alle“ geschalten bewegen sich M1, M2, M3, M4 und M5
… der Eingang „1“ geschalten bewegen sich M1, M2 und M3 (Gruppe 1)
… der Eingang „2“ geschalten bewegen sich M4 und M5 (Gruppe 2)
M6 wird nur über dessen eigenen Eingang geschalten, niemals über das Gruppensteuergerät
Download
Hier steht die komplette Anschluss weise zum Download bereit
Anschlussplan – 24V Reiheneinbaugerät – Version_2.1









